현대차, 수소 관련 특허 지속 출원
N 비전 74 콘셉트 양산하나..

현대자동차가 전기차 시대의 핵심 기술인 전고체 배터리 관련 특허 확보에 박차를 가하고 있다.
특히 에너지밀도가 높아 주행거리를 혁신적으로 늘릴 수 있는 전고체 배터리를 2030년 이전 상용화할 계획이다. 이 기술은 미래 이차전지로 평가받고 있다.
현대차, 전고체 배터리 관련 특허 출원
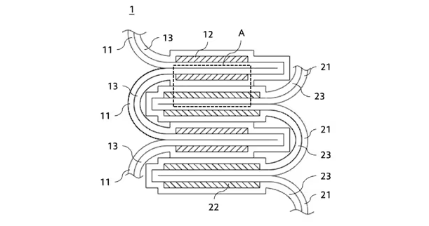
최근 미국 특허청(USIPO)에 따르면 현대차는 폴더블(접이식) 전고체 배터리 관련 특허를 출원했다.
이 배터리는 전자가 이동하는 양극부와 음극부를 지그재그 형태로 접어 결합하는 구조다. 이를 통해 기존 적층 구조 대비 단위 면적당 효율을 높이며 대량 생산에도 유리한 특징을 가진다.

현대차는 기존 고온(60℃ 이상)일 경우에만 작동 가능했던 전고체 배터리를 상온(25℃)에서도 충전할 수 있는 기술을 마련했다. 뿐만 아니라 최근에는 음극재 없이 에너지밀도 상승이 가능한 특허도 출원했다.
전고체 배터리는 기존 리튬이온 배터리와 달리 고체 상태의 전해질을 사용한다. 이로 인해 에너지 밀도가 높아져 더 긴 주행거리를 확보할 수 있으며 간단하고 안정적인 구조를 가지고 있어 화재 위험성도 낮다.
상표 ‘현대 N74’ 출원, N 비전 74 콘셉트 양산 가능성↑
현대차의 수소연료 전기차에 대한 특허 출원도 이어지고 있다. 최근에는 차량 후미에 수소 탱크를 병렬로 배치한 ‘후방 차체 구조’ 특허를 출원했다.
이 특허는 서스펜션, 트윈 수소 탱크, 연료 전지 및 기계적 필수품을 수용하는 리어 서브프레임 구조에 초점을 맞췄다.
기아 스팅어 차체를 묘사한 듯한 도면은 2열 좌석 사용을 배제한 쿠페 기반의 설계를 시사한다.



한편 현대차는 N 비전 74 콘셉트의 양산 가능성을 완전히 부인하지 않았으며 경영진 또한 양산 가능성을 여러 차례 언급했다.
지난 9월에는 유럽연합 지적재산권 사무소(EUIPO)에 ‘현대 N74’의 상표 출원을 신청한 것으로 알려져 기대감이 커지고 있다.
현재 현대차는 수소연료전지차 ‘넥쏘’ 한 종류만 생산 및 판매하고 있으나 N 비전 74는 헤일로카로서 수소연료전지 자동차에 대한 대중의 인식을 바꿀 수 있는 기회로 평가받는다.
이러한 움직임은 전고체 배터리와 수소연료 전지차 기술에 대한 현대차의 집중적인 투자와 혁신을 보여주는 예시로 업계에서도 주목하는 상황이다.



















웃기지도 않는다.
역사가 없는 회사가 뭘한다는겨?그차가 뭔지는 몰라도 포르쉐구나,아 람보르기니구나! 근데이것들은 현대 기아로 불리길 싫어하지 그리고 건전지는 중고로 안사봐서 모르겠다
윤은 일본사람인가
ㅇㅇ